Invention Title:

TEMPORALLY AMORTIZED SUPERSAMPLING USING A KERNEL SPLATTING NETWORK

Publication number:

US20240119558

Publication date:
Section:

Physics

Class:

G06T3/4046

Inventors:

Assignee:

Applicant:

Drawings (4 of 72)

Smart overview of the Invention

A graphics processor is designed with a set of processing resources that enable it to perform advanced supersampling anti-aliasing operations. This is achieved through a mixed precision convolutional neural network, which processes various types of data, including previous and current frame data, jitter offsets, and velocity data. The initial step involves pre-processing this data, which is then used in a feature extraction network to produce high-quality anti-aliased output frames.

Temporal Anti-Aliasing Technique

Temporal Anti-aliasing (TAA) is a method that enhances image quality by jittering the camera position each frame to sample different screen coordinates. The technique accumulates these samples over time to create a supersampled image. However, issues like ghosting artifacts can arise when the warped sample history does not align correctly with the current frame due to changes in visibility or shading.

Enhancements in Graphics Processing Units

Modern graphics processing units (GPUs) are designed to accelerate various operations, including graphics rendering and machine learning tasks. They are typically connected to host processors via high-speed interfaces, allowing for efficient command processing. Recent advancements have shifted from fixed-function units to programmable components, enabling a broader range of operations and improved performance through parallel processing techniques.

Combining Techniques for Improved Quality

The integration of temporal upsampling with TAA allows for rendering frames at lower spatial resolutions, thereby saving time while still achieving high-quality images. By employing a kernel splatting network alongside low precision convolutional neural networks, this approach enhances image quality beyond traditional spatial-only upscaling methods and reduces rendering times compared to native resolution techniques.

System Architecture and Flexibility

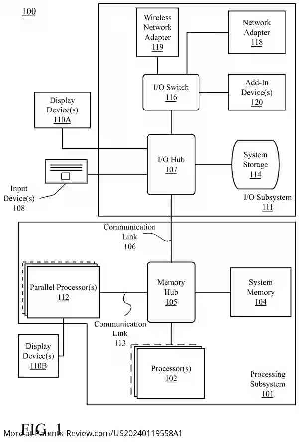
The computing system architecture includes various components such as processors, memory hubs, and input/output subsystems that work together to support complex graphics operations. This architecture allows for flexibility in configuration, enabling integration of different processing elements and communication paths. Such adaptability ensures that the system can evolve with technological advancements while maintaining optimal performance for graphics rendering and other computational tasks.