Invention Title:

INTELLIGENT MEDIA PRODUCTION FOR ENHANCED STREAMING OF A LIVE SPORTING EVENT

Publication number:

US20240205519

Publication date:
Section:

Electricity

Class:

H04N21/8547

Inventors:

Assignee:

Applicant:

Drawings (4 of 15)

Smart overview of the Invention

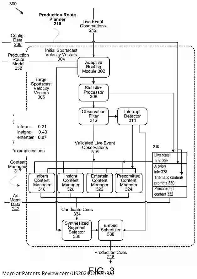
An innovative method is proposed for enhancing the streaming quality of live sporting events through intelligent sportscast production. The approach involves selecting a specific production route model that incorporates various predetermined conditions. These conditions help define initial sportscast velocity vectors, which are essential for generating an organized stream of synthesized audio and video segments tailored to the live event's context.

Data Utilization for Enhanced Streaming

The method leverages live event observations, which are collected from multiple sources, including a live scoreboard data feed and machine recognition of game state data obtained from a live video feed. By caching these observations, the system can generate timely production cues that enhance the quality and relevance of the synthesized audio and video segments during the event.

Dynamic Content Adjustment

Adjustments to the synthesized content's velocity vectors are made based on real-time live event observations and the current game state. This dynamic capability allows for a more responsive and engaging viewing experience, ensuring that the content produced aligns closely with the unfolding events of the game.

Addressing Current Limitations in Sportscasting

Traditional sportscasting methods often require extensive onsite personnel and resources, making them costly and time-consuming. Smaller-scale sporting events tend to suffer from lower production quality due to these constraints. The proposed method aims to overcome these limitations by automating aspects of production, thus enabling localized events to achieve higher production values without the need for large teams.

Implementation Flexibility

The technology can be implemented in various forms, including hardware modules or software programs, emphasizing its adaptability. This versatility allows it to be integrated into existing systems or developed as standalone solutions, catering to different types of sporting events and production requirements.