Invention Title:

ROAD EXPERIENCE MANAGEMENT (REM) MAP FEATURES DELIVERED VIA AUGMENTED REALITY (AR)

Publication number:

US20240255289

Publication date:
Section:

Physics

Class:

G01C21/30

Inventors:

Assignee:

Applicant:

Drawings (4 of 9)

Smart overview of the Invention

Innovative techniques utilize augmented reality (AR) displays to deliver various graphical representations of information to users, particularly in vehicles. This information can be sourced from dynamically detected objects, user-generated content, or crowdsourced AV map data. By aligning these graphical elements with the user's field of view, the AR system seamlessly integrates holographic data with real-world surroundings, enhancing situational awareness.

Purpose of Road Experience Management Technology

Road Experience Management (REM) focuses on providing dynamic Roadbook map features through crowdsourced data. Unlike traditional static maps, the Roadbook map captures a history of driver behaviors on specific road segments, which aids autonomous vehicles (AVs) in making informed decisions. This technology allows for rapid deployment of AVs in diverse locations, ensuring they can navigate safely and efficiently.

Limitations of Conventional Display Systems

Current systems that deliver Roadbook maps rely on standard in-vehicle displays that do not account for the driver's specific field of view. This limitation can hinder the effectiveness of information presentation, as vital data may not be optimally positioned for quick comprehension during driving. The integration of AR technology aims to overcome these challenges by providing contextually relevant information directly within the driver’s line of sight.

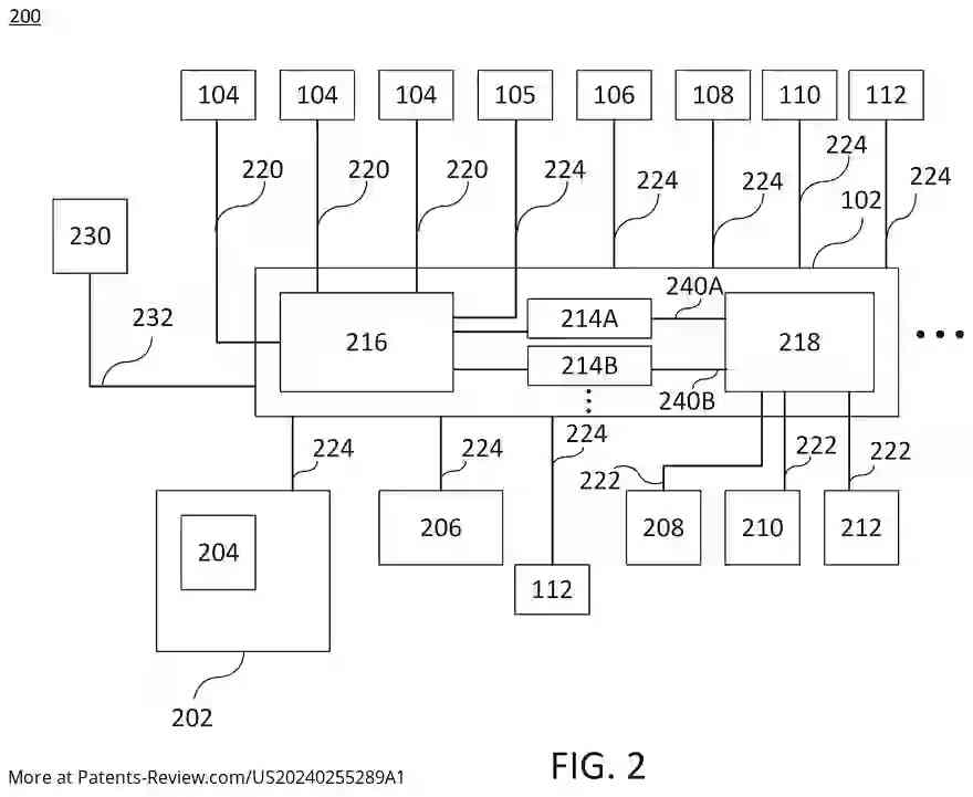
Components and Functionality of the Safety System

The vehicle's safety system incorporates various components such as processors, image acquisition devices, position sensors, and wireless transceivers. These elements work together to gather and process data essential for navigation and vehicle control. The system is designed to support both autonomous and semi-autonomous driving capabilities, enhancing overall safety and user experience.

Communication Protocols and Remote Connectivity

Multiple wireless transceivers facilitate communication between the vehicle and external systems using various standards like Bluetooth, LTE, and V2X protocols. This connectivity allows for real-time data exchange with remote computing systems, such as cloud or edge computing resources. Such integration ensures that vehicles can access up-to-date information and adapt to changing conditions on the road effectively.