Invention Title:

COLLABORATIVE COAUTHORING WITH ARTIFICIAL INTELLIGENCE

Publication number:

US20240303415

Publication date:
Section:

Physics

Class:

G06F40/166

Inventors:

Assignee:

Applicant:

Drawings (4 of 26)

Smart overview of the Invention

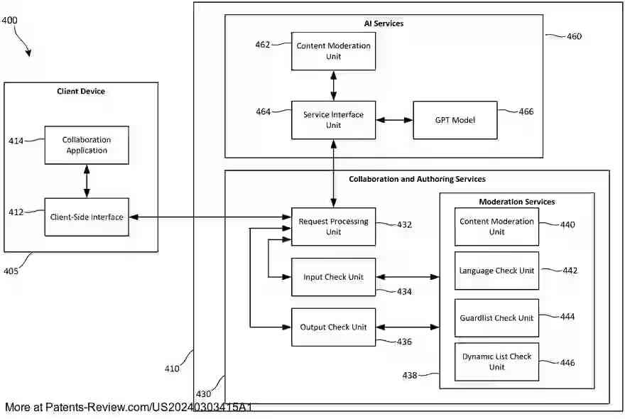
A data processing system facilitates collaborative content generation by integrating user inputs with a generative model. Users can submit textual prompts through a client device, which describe the content they wish to create. The system processes these prompts and generates initial collaborative content, allowing users to actively participate in the editing and refinement process.

Enhancing User Experience

Current collaboration platforms often produce static outputs from large language models (LLMs) that limit user interaction. By enabling users to directly edit the generated content, the proposed system enhances the collaborative experience, making it more dynamic and interactive. This approach allows users to modify content in a way that mirrors traditional coauthoring with human collaborators.

Functionality of the System

The system operates by receiving an initial prompt and generating corresponding content. After users edit this content, their modifications are sent back to the generative model for further enhancement. This iterative process results in refined collaborative content that reflects both user input and AI capabilities, effectively merging human creativity with machine assistance.

Technical Benefits

This method addresses limitations found in existing AI content generation tools by providing a more natural workflow for users. Instead of repeatedly refining prompts to achieve desired outcomes, users can engage directly with the content, streamlining their creative process and improving overall satisfaction with the collaboration platform.

User Interface and Project Management

The collaboration platform features user-friendly interfaces that support project organization and management. Users can create workspaces for specific projects, manage access levels, and collaborate seamlessly with others. The platform’s design ensures that users can easily navigate their workspaces and access necessary tools for effective collaboration.