Invention Title:

ROBOT SYSTEMS, METHODS, CONTROL MODULES, AND COMPUTER PROGRAM PRODUCTS THAT LEVERAGE LARGE LANGUAGE MODELS

Publication number:

US20240316761

Publication date:
Section:

Performing operations; transporting

Class:

B25J9/1602

Inventors:

Applicant:

Drawings (4 of 7)

Smart overview of the Invention

Robot control systems are designed to enhance the autonomy of robots by utilizing large language models (LLMs). These systems allow for the specification of control parameters and instructions in natural language, enabling more intuitive interaction between humans and robots. The integration of LLMs facilitates various operations such as task planning, motion planning, human interaction, and environmental reasoning.

Functionality of Large Language Models

Large language models, which are advanced AI trained on extensive text data, can generate human-like responses to natural language inputs. This capability is harnessed within robot systems to automate processes like task planning and human interaction. By leveraging LLMs, robots can interpret complex instructions and execute them more effectively, thereby increasing their operational efficiency.

Methodology for Robot Operation

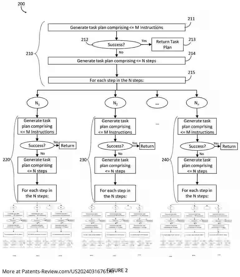
The method involves capturing environmental data through sensors and generating natural language descriptions based on this data. These descriptions are then used to formulate queries directed at the LLM, which returns task plans in natural language. The system ensures that the number of steps in the task plan does not exceed predefined thresholds, allowing for manageable execution.

Task Plan Execution Process

For each step in the task plan that does not correspond to a single executable instruction, additional queries are sent to the LLM to break down these steps into smaller component plans. This recursive breakdown continues until each step aligns with an instruction in the robot's instruction set. The final task plan is then converted into a robot-language format for execution.

Advantages and Applications

The described systems offer significant advantages in automating a wide range of tasks that humans perform daily. By simplifying the interaction process through natural language and enhancing robot autonomy with LLMs, these technologies have the potential to revolutionize various industries, including service, manufacturing, and logistics.