Invention Title:

METHODS AND SYSTEMS FOR ENABLING REAL-TIME CONVERSATIONAL INTERACTION WITH AN EMBODIED LARGE-SCALE PERSONIFIED COLLECTIVE INTELLIGENCE

Publication number:

US20240323152

Publication date:
Section:

Electricity

Class:

H04L51/046

Inventors:

Applicant:

Drawings (4 of 23)

Smart overview of the Invention

Methods and systems are presented for facilitating real-time conversational interaction with a large-scale personified collective intelligence. Users can engage with an AI-powered conversational agent that synthesizes input from numerous human participants, allowing for dynamic and interactive dialogue. This technology addresses the challenges of maintaining coherent conversations in larger groups, which typically struggle to engage effectively beyond a small number of participants.

Functionality of the Collective Intelligence System

Users, such as interviewers, can pose questions to the personified collective intelligence agent. The agent formulates responses based on real-time contributions from multiple human participants. A large language model processes these inputs, analyzing and aggregating them to generate a cohesive collective intelligence response that is communicated back to the user in a conversational manner.

Enhancing Intellectual Capabilities

The system allows large populations to contribute their insights and sentiments in real-time, significantly amplifying the intellectual capabilities of the conversational interaction. By leveraging collective knowledge, users can benefit from a richer and more informed dialogue, enhancing both individual understanding and group decision-making processes.

Technical Infrastructure

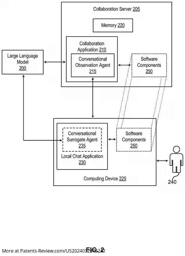
The architecture includes a collective intelligence server that receives inquiries and routes them to participants via their computing devices. Each participant can view inquiries and submit responses, which are then aggregated by a large language model. The final output is delivered back to the interviewer through the personified collective intelligence agent, ensuring a seamless conversational experience.

Addressing Limitations of Current Technologies

Current online communication technologies face limitations when scaling conversations beyond small groups. This system aims to overcome these barriers by enabling coherent interactions among very large networks of users—potentially involving thousands or even tens of thousands of individuals—thus fostering collaborative discussions that can yield unified results across extensive communities.