Invention Title:

HYPER-PERSONALIZED PROMPT BASED CONTENT GENERATION

Publication number:

US20240362265

Publication date:
Section:

Physics

Class:

G06F16/535

Inventors:

Assignee:

Applicant:

Drawings (4 of 10)

Smart overview of the Invention

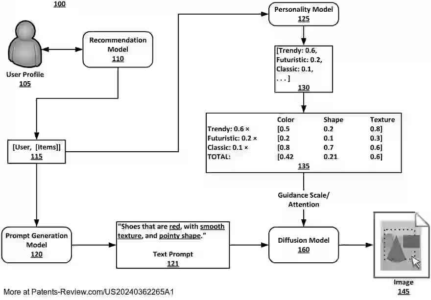
The patent application describes a method for generating personalized images using machine learning. It involves creating a personalized text prompt by processing an input embedding through a transformer model and a neural network. The input embedding is a multi-dimensional vector linked to a user profile and various user items. A scored label set is also generated to identify user preferences by evaluating attributes of these items using another neural network. The personalized image is then created by processing the text prompt and scored label set with a diffusion model.

Current image generation models face challenges such as low resolution and the need for detailed text prompts. They also lack fine-tuning capabilities to focus on specific attributes without affecting other content. The disclosed technology aims to improve these aspects by using generative AI models, which include GANs, diffusion models, and transformer-based models, among others. These models can generate high-quality content while learning from datasets with reduced bias, providing organizations with competitive advantages through efficient data access.

The system begins with a user profile that feeds into a recommendation model, generating a scored list of recommended items based on similarity calculations with previous user interactions. This list is used by both a personality model and a prompt generation model. The personality model analyzes the list to produce a scored label set that influences image generation, while the prompt generation model automatically creates the text prompt. Together, they guide the diffusion model to produce personalized images reflecting user preferences.

User profiles contain both structured and unstructured data, such as demographic information, purchase history, and social media activity. This data is encoded into input embeddings that capture comprehensive information about the user and item attributes. These embeddings are then processed through fully connected neural networks to generate recommendation scores and identify items most relevant to the user's profile.

The neural recommender model is trained using high-dimensional feature sets from user profiles and item attributes. It converts these into dense numerical arrays for processing. The resulting embeddings are flattened and concatenated into a single input embedding, which is transformed through several neural network layers to produce recommendation scores. Recommended items are identified based on these scores for further analysis by the personality and prompt generation models, enabling hyper-personalized content creation.