Invention Title:

AUGMENTED REALITY DISPLAY SYSTEM

Publication number:

US20240404489

Publication date:
Section:

Physics

Class:

G09G5/38

Inventors:

Assignee:

Applicant:

Drawings (4 of 11)

Smart overview of the Invention

The augmented reality display system is designed for vehicles, projecting information onto transparent surfaces like windshields. This system presents data such as vehicle speed, spatially adjusted relative to local speed limits. It also displays elements that align with environmental objects, potentially obscuring and replacing the content visible on those objects. Additionally, it provides indicators for objects hidden from direct view and simulates specific environmental elements based on the driver's manual performance.

Background

Graphical overlays have been used to provide relevant information through transparent surfaces like vehicle windows. These overlays help drivers by displaying data pertinent to both the vehicle and its surroundings, such as speed and environmental features. The concept of augmented reality displays enhances this by allowing graphics to overlay and augment perceived objects, thereby altering or controlling the information presented to the observer.

Technical Details

The system utilizes various sensors and a vehicle navigation system (VNS) to control the display of augmented reality information. External sensors capture data about the environment, while internal sensors monitor the vehicle's interior and occupants. These sensors include cameras, radar, and other devices that contribute to a comprehensive world model used by the VNS to manage the augmented reality display.

System Components

The vehicle is equipped with several interfaces and transparent surfaces for displaying augmented reality graphics. The VNS integrates an augmented reality display module responsible for generating these displays based on sensor data. This module can be part of a single computer system or separate systems within the vehicle infrastructure, ensuring seamless interaction with both internal and external environments.

Application Examples

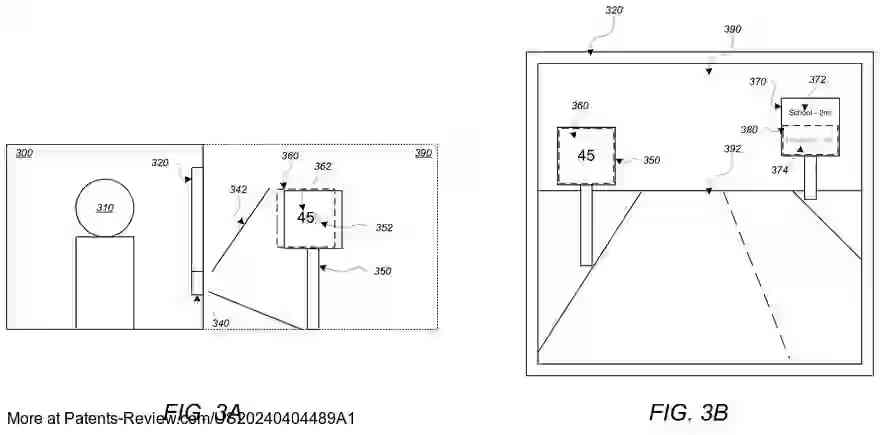
In practice, the system can show a three-dimensional representation of the vehicle's speed compared to local speed limits directly on the windshield. This spatial positioning aids drivers in maintaining appropriate speeds. The augmented reality system leverages sensor data to accurately determine current speeds and local regulations, providing real-time feedback to enhance driving safety and efficiency.