Invention Title:

SYSTEMS AND METHODS FOR PERSONALIZED GAME COMMENTARY STREAMS

Publication number:

US20250047954

Publication date:
Section:

Electricity

Class:

H04N21/8106

Inventors:

Assignee:

Applicant:

Drawings (4 of 4)

Smart overview of the Invention

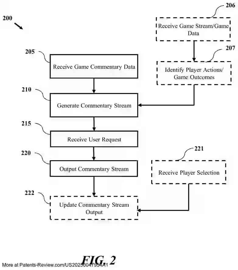
The disclosed technology focuses on generating personalized game commentary streams. These streams integrate gameplay video data with commentary from users engaged in multiplayer games. The system synchronizes user voice and video data with specific game events and states, allowing viewers to select content from a chosen user's perspective. This approach enhances the viewing experience by incorporating additional context beyond standard gameplay footage.

Field of Application

This innovation pertains to interactive entertainment and electronic video gaming, encompassing device operations, user interface control, and configuration processes. It addresses the growing interest in viewing electronic gameplay by providing enriched content that includes player interactions and reactions during game sessions.

Methodology

The method involves receiving game commentary data from users, including voice and video data captured during gameplay. A device then generates a commentary stream by combining this data with gameplay footage. Users can request streams tailored to specific players, enabling playback from various perspectives within a game session. This personalization is achieved by selecting and splicing voice data corresponding to particular game events or states.

Device Configuration

A device configured for this system includes an interface, memory for storing instructions, and a controller to manage data processing. The controller receives user commentary data, generates the commentary stream, and outputs it based on user requests. This setup supports a dynamic viewing experience by allowing users to choose different perspectives and commentary tracks.

Applications and Embodiments

The system supports both cooperative and competitive gaming environments, generating custom commentary tracks that highlight individual player actions. Commentary streams can be tailored to specific game titles or types, offering viewers the ability to switch between different player perspectives. This flexibility enhances engagement by providing a comprehensive view of multiplayer interactions.