Invention Title:

SYSTEM AND METHOD FOR IMPLEMENTING AN ADVISORY ASSISTANT TO A GENERATIVE ARTIFICAL INTELLIGENCE TOOL

Publication number:

US20250053453

Publication date:
Section:

Physics

Class:

G06F9/5027

Inventors:

Applicant:

Drawings (4 of 8)

Smart overview of the Invention

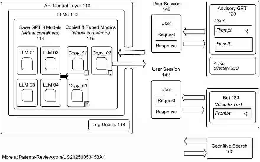
The patent application describes a system and method for implementing a middleware platform that enhances generative AI services. This platform integrates multiple large language models (LLMs) with proprietary data to produce enhanced responses. It addresses the limitations of current systems that typically handle one LLM at a time, thereby missing opportunities to leverage new technologies efficiently. The middleware facilitates the deployment and management of AI models, ensuring balanced user load distribution globally.

Key Features

The system introduces autonomous features like combining distinct LLM responses to generate unique outputs. It can autonomously scale, deploy models, and reroute requests to maintain balance across a distributed AI infrastructure. This ensures efficient resource utilization and supports the creation of production instances on demand, either by system criteria or user requests, catering to increased demand or specific fine-tuning needs.

Innovative Middleware

An innovative middleware layer, termed a Digital Matrix, forms the core of this invention. It provides a plug-in interface for various AI models and LLMs, enabling the combination of concurrent prompt responses from multiple LLMs with proprietary data. This approach allows for optimized model selection and processing of complex requests, offering results that current single-LLM systems cannot achieve.

Additional Capabilities

The system includes auditing and traceability features with integrated responsibility capabilities, ensuring data provenance and consistent model usage management. It also supports subscription-based access, offering different service tiers to accommodate varying client needs and budgets. This flexibility allows clients to choose the level of service that best suits their requirements.

Architecture and Implementation

The platform's architecture comprises an API Control Layer interfacing with multiple LLMs, each offering unique capabilities. For instance, LLM 01 might handle complex tasks like creative content production, while LLM 04 could be optimized for speed and cost-efficiency. This architecture supports various LLMs beyond the examples provided, ensuring adaptability to emerging AI technologies.