Invention Title:

SYSTEM FOR MONITORING HEART CONDITION FOR ANIMAL

Publication number:

US20260000333

Publication date:
Section:

Human necessities

Class:

A61B5/282

Inventors:

Assignee:

Applicant:

Drawings (4 of 6)

Smart overview of the Invention

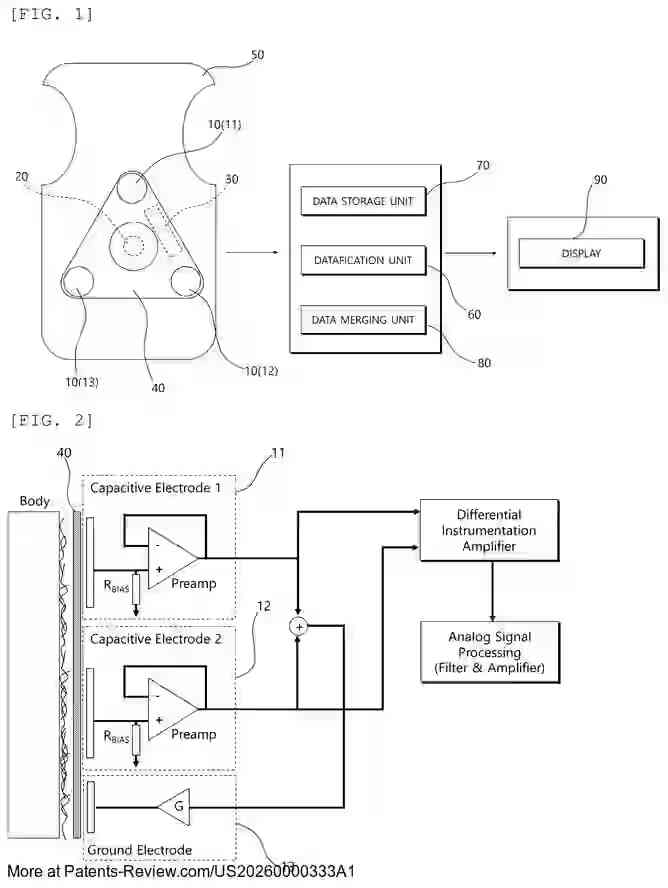
The disclosed system is designed to monitor heart conditions in companion animals using a combination of electrocardiogram, phonocardiogram, and ballistocardiogram sensors. These sensors work together to collect comprehensive data without the need for preparatory steps such as hair removal. This integration allows for the generation of cardiogram-integrated data, facilitating accurate diagnosis of heart conditions in animals.

Technical Field

This innovation pertains to non-restrained wearable devices for animals, combining multiple cardiogram types. The system aims to address the challenges of detecting heart conditions early in companion animals, which often go unnoticed until they become severe. By integrating different types of cardiogram data, the system provides a more complete picture of the animal's heart health.

System Components

The system includes a capacitive electrocardiogram sensor with multiple electrodes, a phonocardiogram sensor, and a ballistocardiogram sensor. These components are integrated into a wearable device positioned near the animal's heart. A datafication unit processes the collected signals into waveform data, which is then stored and merged to create comprehensive cardiogram-integrated data.

Advanced Features

The system incorporates an acceleration sensor to monitor animal movements, ensuring data accuracy by identifying and correcting abnormal signals. A learning model further refines the electrocardiogram data, using stored waveform data from normal conditions to adjust readings taken during movement. This enhances the reliability of the heart condition assessments.

Benefits and Applications

By eliminating the need for direct skin contact and preparatory steps like hair removal, the system simplifies the process of collecting accurate heart data. The integration of multiple cardiogram signals provides a detailed analysis of the heart condition, enabling timely and precise diagnosis. This approach reduces the need for restrictive procedures, allowing for more natural monitoring of the animal's health.