Invention Title:

VEHICLE OPERATION AROUND OTHER VEHICLES

Publication number:

US20260001542

Publication date:
Section:

Performing operations; transporting

Class:

B60W30/16

Inventors:

Assignee:

Applicant:

Drawings (4 of 16)

Smart overview of the Invention

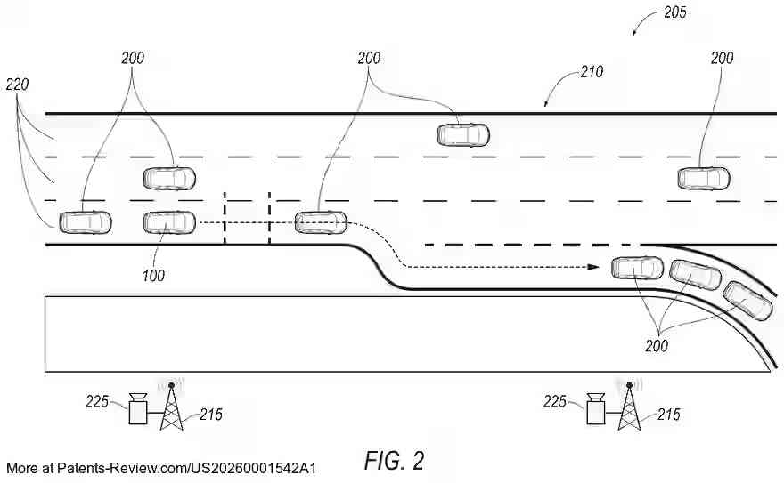
Advanced driver assistance systems (ADAS) incorporate electronic technologies to aid drivers in various functions like driving and parking. These systems include features such as forward proximity detection, lane-departure detection, blind-spot detection, and adaptive cruise control. The patent introduces a method for enhancing vehicle operation around other vehicles by utilizing control barrier functions (CBF) and control-Lyapunov functions to manage vehicle acceleration.

The system involves a computer with a processor and memory that stores instructions to create multiple control barrier functions for a host vehicle. Each function is based on the kinematic state of a target vehicle. The computer calculates CBF input accelerations from these functions and a Lyapunov input acceleration from a control-Lyapunov function, which is based on the host vehicle's target speed. The computer selects an appropriate input acceleration from a set that includes these calculated accelerations to actuate a vehicle component.

This technology aims to reduce the likelihood of contact between the host vehicle and other target vehicles by efficiently handling multiple vehicles in proximity. The system can anticipate the behavior of vehicles ahead, allowing the host vehicle to adjust speed preemptively. This is particularly useful in adaptive cruise control scenarios, where the system can respond to vehicles not directly in front.

The computer system is equipped with various sensors and communication capabilities to gather data about the host vehicle's operation and its surroundings. These sensors include GPS, accelerometers, gyroscopes, radar, and lidar, which provide comprehensive data on vehicle dynamics and external conditions. This data is crucial for accurately determining the kinematic states of target vehicles and ensuring responsive and safe vehicle operation.

The described system can be implemented in various vehicle types, including passenger cars and commercial vehicles. It leverages advanced computing technologies like FPGA and ASIC, which are configured using hardware description languages. This enables the system to process complex calculations and make real-time decisions to enhance vehicle safety and efficiency.