Invention Title:

HIERARCHICAL AND DISTRIBUTED METRICS AGGREGATION USING NAMESPACES FOR MULTITENANT AUTONOMOUS CLOUD ENVIRONMENT

Publication number:

US20260003758

Publication date:
Section:

Physics

Class:

G06F11/3409

Inventors:

Assignee:

Applicant:

Drawings (4 of 23)

Smart overview of the Invention

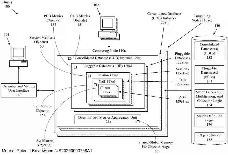
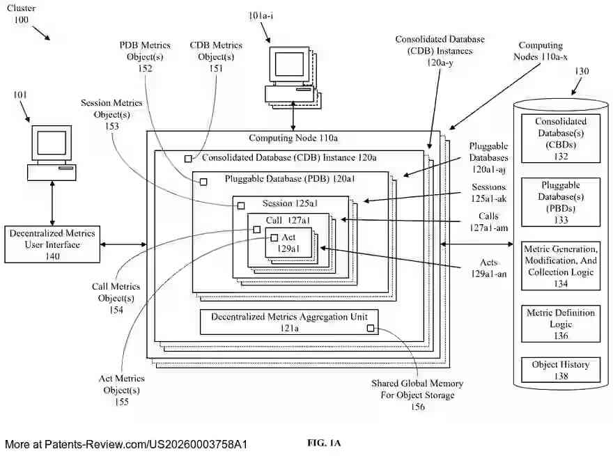
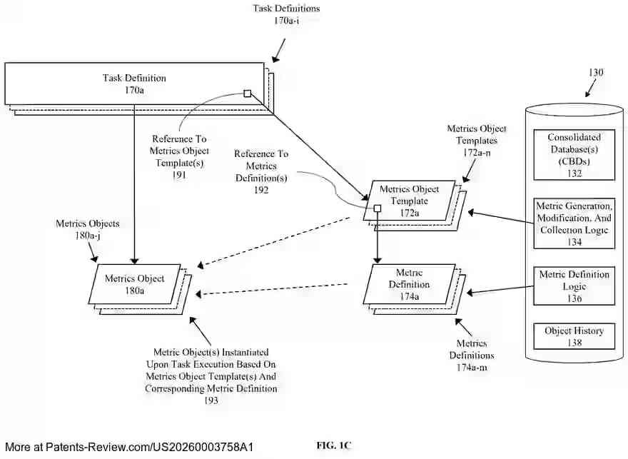
The patent application introduces a method, system, and product for hierarchical and distributed metrics aggregation using namespaces tailored for a multitenant autonomous cloud environment. This approach is designed to efficiently manage and review performance metrics in complex, data-heavy network environments. By leveraging task and object-based templates, the system dynamically creates and manages metrics objects, which are tied to the lifecycle of corresponding tasks.

Background

Modern computing systems, especially within network environments like clusters, handle vast amounts of data, often reaching petabytes. Traditional systems designed for single users are inadequate for managing such data volumes efficiently. Current solutions, such as pluggable databases in consolidated database instances, allow concurrent data operations but introduce challenges in metrics management. Existing techniques for metric collection are cumbersome, necessitating an improved management approach.

Dynamic Metrics Management

The proposed approach involves using templates associated with tasks to generate metrics objects that include relevant metrics. These templates come with management rules specifying how and when to modify the metrics. The approach supports dynamic creation and management of metrics objects, which are instantiated with the task and rolled up into parent objects upon task completion. This rollup process is facilitated by namespaces, allowing for metrics with the same name to be combined efficiently.

Implementation Details

The system maintains metric definitions, generation, modification, and collection logic, alongside managing a consolidated database instance within a computing cluster. Metrics objects are generated at runtime for tasks and processed upon task closure. This includes rolling up metrics into parent objects and applying retention policies to determine storage or removal conditions. The process allows for efficient monitoring and resource management in databases supporting concurrent tasks.

Applications and Benefits

This method is particularly useful in environments with consolidated databases and pluggable database instances. By utilizing hierarchical relationships and namespaces, the system simplifies metric management, allowing for dynamic monitoring and efficient resource use. The approach can be adapted to any database supporting concurrent tasks, enhancing the management of resources used for database monitoring and task management.