Invention Title:

METHODS AND APPARATUS FOR DEEPFAKE DETECTION WITH MULTI-SCALE FEATURE PROCESSING AND LOCAL VISUAL DESCRIPTORS

Publication number:

US20260004581

Publication date:
Section:

Physics

Class:

G06V20/41

Inventors:

Assignee:

Applicant:

Drawings (4 of 12)

Smart overview of the Invention

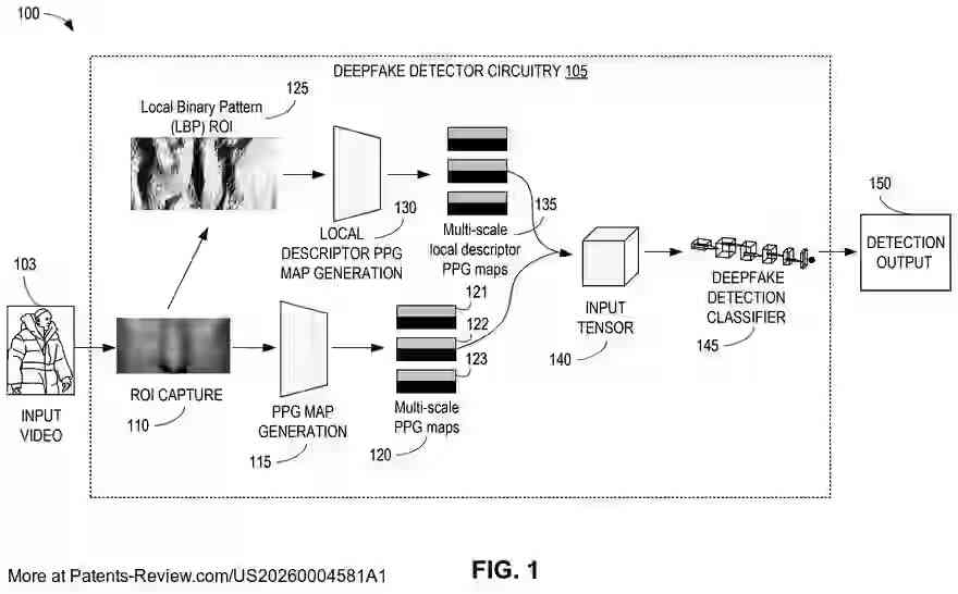
Deepfake detection is enhanced with Multi-Scale Local Descriptor (MSLD) augmentation, significantly boosting the robustness and adaptability of PPG-based detection systems. This approach integrates multi-scale processing to encode blood volume changes using local binary patterns across various spatial scales. By concatenating multi-scale PPG maps with local descriptor PPG maps into a single input tensor, the system effectively classifies videos as authentic or deepfake.

Background

Deepfake detection aims to identify manipulated visual content generated through deep learning, which can indicate fraudulent or corrupt behavior. Detection technologies assess visual artifacts, temporal patterns, and spatial features to differentiate between authentic and synthetic content. The challenge lies in the realistic appearance of synthetic media, which can spread misinformation and infringe on privacy.

Challenges and Solutions

Current deepfake detection methods often struggle with real-world applications due to evolving alteration techniques. While some methods rely on detecting visual artifacts, others focus on biological inconsistencies like facial movements. The proposed MSLD approach leverages PPG signals, which capture physiological data such as blood volume changes, to improve detection accuracy and adaptability across diverse datasets.

Methodology

The MSLD-based detection process involves generating multi-scale PPG maps from region-of-interest (ROI) images extracted from video frames. These maps are created by partitioning the ROI into different spatial scales and extracting chrominance-based PPG features. The system further enhances these maps with spectral representations and local visual descriptors, such as Local Binary Patterns (LBP), to improve detection accuracy.

Applications

This innovative deepfake detection method is applicable in various domains, including AI-based toolkits, consumer-facing detection services, and hardware-optimized applications. By incorporating advanced feature processing and local descriptors, the MSLD approach offers a robust solution for identifying synthetic content in an ever-evolving landscape of deepfake technologies.