Invention Title:

ADAPTIVE BUILDING BASED ACTIVE NOISE CONTROL LOCATION

Publication number:

US20260004763

Publication date:
Section:

Physics

Class:

G10K11/17823

Inventors:

Assignee:

Applicant:

Drawings (4 of 9)

Smart overview of the Invention

The innovation focuses on adaptive noise control within buildings, utilizing sensors to detect noise sources and generate configurations to counteract them. By employing directional acoustic loudspeakers, it creates specific acoustic tones to attenuate unwanted noise at calculated distances. This approach is adaptable to dynamic environments like open-plan offices and can adjust in real-time to changes in noise source positions or participant numbers in a meeting.

Background

Traditional noise control methods, such as passive insulation or active noise control in headphones, have limitations like high costs, discomfort, and ineffectiveness against moving noise sources. Active noise control typically involves generating sound waves that cancel out unwanted noise through destructive interference. However, these methods often require consistent geometric alignment and can isolate users from important sounds, necessitating a more flexible solution.

Implementation

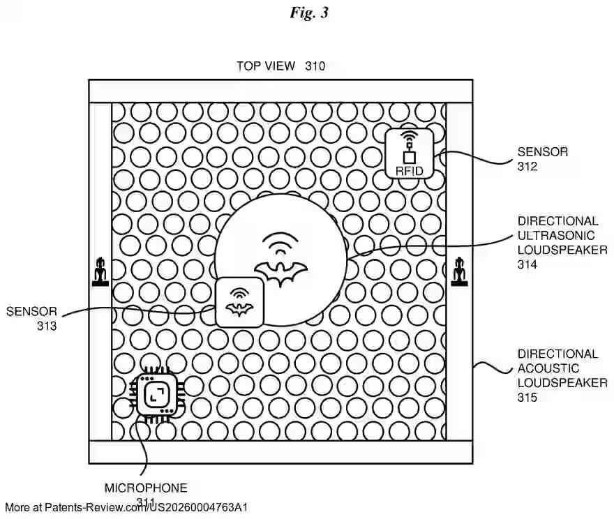
The system uses building-installed sensors to identify the location of noise sources and creates noise control configurations featuring directional loudspeakers. These configurations are tailored to produce specific acoustic tones that diminish the noise at targeted distances. The system can reconfigure itself to adapt to changing conditions, such as moving noise sources or varying numbers of people in a conference area.

Advanced Features

In addition to noise attenuation, the system can enhance communication within a conference area by detecting audio and transmitting it using directional ultrasonic loudspeakers. It can also translate audio into different languages, facilitating multilingual interactions in real-time. This adaptability extends to forming noise attenuation areas within the sound footprint of the loudspeakers, offering precise control over noise levels.

Technical Details

The solution includes computer systems and programs that execute the adaptive noise control functions. It can integrate various sensors like microphones, frequency spectrum analyzers, and RFID readers to gather data and adjust configurations. The system is designed to be applicable in various structures, including buildings and vehicles, making it a versatile tool for modern noise management needs.