Invention Title:

PULSING DEPOSITION USING FAST RESPONSE MFC

Publication number:

US20260005028

Publication date:
Section:

Electricity

Class:

H01L21/28568

Inventors:

Assignee:

Applicant:

Drawings (4 of 4)

Smart overview of the Invention

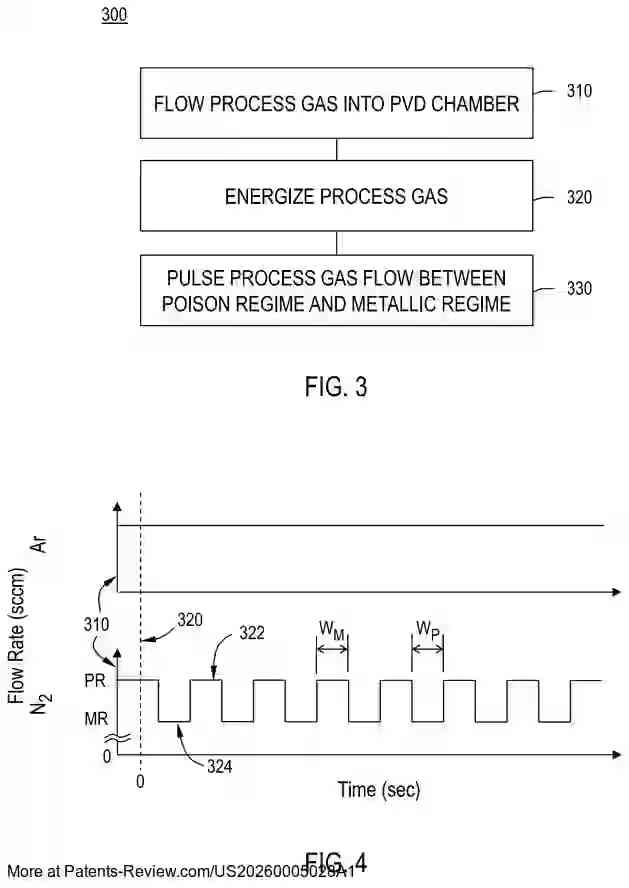
Methods are detailed for forming work function layers, such as titanium nitride, used in transistors. These methods involve energizing a process gas within a processing chamber to create plasma, which is then pulsed between two regimes using a fast response mass flow controller (MFC). This pulsing facilitates the deposition of the work function layer onto a substrate surface with improved uniformity.

Technical Background

In the semiconductor industry, achieving uniform layer deposition on increasingly larger substrates is crucial. As device dimensions shrink, uniformity becomes more critical, especially for layers like titanium nitride that influence threshold voltages in transistors. Traditional methods using physical vapor deposition face challenges due to non-uniform atomic ratios across the substrate, impacting the device's performance.

Challenges with Conventional MFCs

Conventional mass flow controllers have significant response delays, which can constitute a large portion of the pulse width in pulsed flow processes. This mismatch in flow profiles complicates achieving uniform deposition. The need for improved apparatus and methods to enhance deposition uniformity is evident, particularly in processes involving physical vapor deposition.

Innovative Methodology

The described method involves using a fast response MFC to pulse process gas between poison and metallic regimes in a chamber containing a sputtering target. The fast response MFC, with response delays of 0.25 seconds or less, ensures precise control over gas flow rates. This precision aids in depositing a uniform titanium nitride work function layer, crucial for consistent threshold voltages across the substrate.

Specific Embodiments

In certain embodiments, the process gas, comprising argon and nitrogen, is used to create plasma that ejects titanium atoms from the target to the substrate. The MFC manages nitrogen flow rates between 20-30 sccm in metallic regimes and 25-35 sccm in poison regimes, with the latter being higher. This approach ensures uniform deposition and improved device performance.